✅ Professionelle Råd             ★★★★★ Anmeldelser
Previous
Previous Product Image

Tagstenslad

9.595,00 kr. ekskl. moms | 11.993,75 kr. inkl. moms
Next

Stigesektion

3.395,00 kr. ekskl. moms | 4.243,75 kr. inkl. moms
Next Product Image

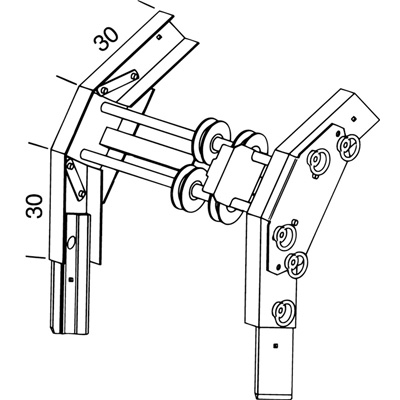
Knækskinne

5.295,00 kr. ekskl. moms | 6.618,75 kr. inkl. moms

Knækskinne til GEDA taglift.1386831

Varenummer (SKU): 38GEDA2877 Kategori: Tag:

Beskrivelse

JUMBO Knækskinne med trinløs indstilling fra 20° til 45°

OBS. DETTE ER EN SKAFFEVARE

VægtCon: 14 kg

Shopping cart

0
image/svg+xml

Ingen produkter i kurven

Continue Shopping

Select a Pickup Point